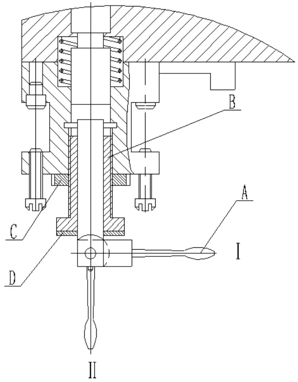
Як відрегулювати квадратну стійку інструменту вертикального токарного верстата?
Під час роботи квадратної опори ручка «A» має бути в положенні «Ⅰ». Повертаючи квадратну головку в нове робоче положення вручну, слід спочатку перенести ручку «A» в положення «Ⅱ». Повернувши квадратну головку в нове положення вручну, перенесіть ручку «A» в положення «Ⅰ». Після того, як нецентральний кулачок на ручці та шайбі «D» потерться, відрегулюйте силу тиску за допомогою гвинта «B», щільно зафіксуйте «B» за допомогою гвинтової кришки «C».

